3月8日,据媒体报道,韩国歌手具俊晔发文宣布与大S结婚,随后大S也发文官宣。据了解,两人20年前就曾有过一段感情。

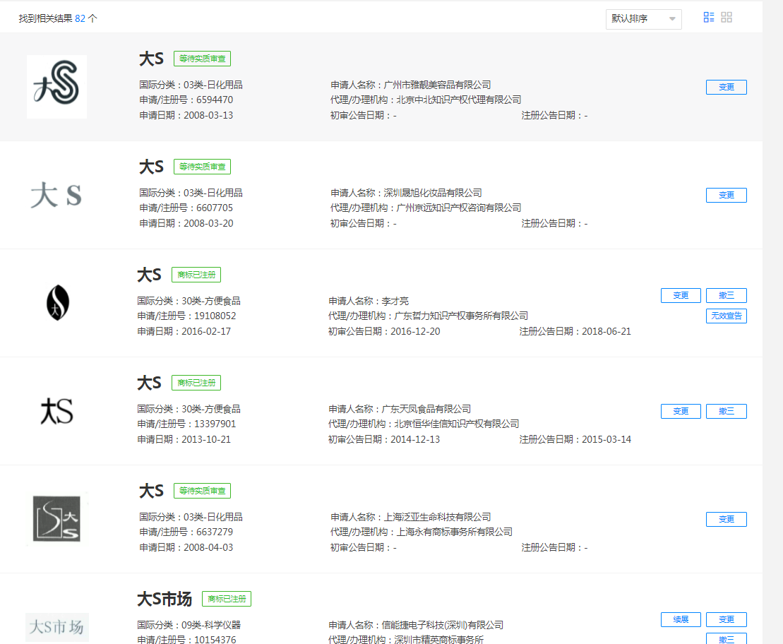
天眼查数据显示,名字带“大S”的商标申请共有80余个,包括“大S小S”“魅动大S”“大S美肌篇”等。其中,近一半商标已经完成注册。从国际分类来看,日化用品类申请数量最多,其次为广告销售类,均有超10个。

值得一提的是,除了上述商标,大S前夫汪小菲关联公司也曾申请大S相关商标。汪小菲持股的合润麟(北京)食品有限公司旗下的茶饮品牌曾宣布大S为代言人,该公司申请注册“S茶”“茶S”商标,不过,当前商标流程状态显示为商标无效和驳回复审。此外,汪小菲持股的北京合尊置业有限责任公司申请注册多个“S HOTEL”“徐徐酒店”商标,其中2枚“徐徐酒店”商标已完成注册。


原标题:大S相关商标被多方抢注 前夫汪小菲曾申请被驳回
值班主任:高原